11
11

单轨吊车

一、单轨吊车简介  单轨吊车是通过多组平行纵向钢轨的协同作业,实现工件在前处理槽体(脱脂、水洗、酸洗、水洗、助镀等)与锌锅之间的垂

产品详情

一、单轨吊车简介

  单轨吊车是通过多组平行纵向钢轨的协同作业,实现工件在前处理槽体(脱脂、水洗、酸洗、水洗、助镀等)与锌锅之间的垂直升降、精准转运,各吊车可以单独操作,也可多台吊车同步操作,满足批量或定制化的热镀锌工艺需求。

在其它设备不变的情况下,使用单轨吊车能比使用横移式吊车提高产能一倍以上。通常情况下,横移式吊车一般只有一部吊车做镀锌动作,其他吊车只是做辅助配套用。即使有两部以上吊车用于镀锌,也是只有一部在工作,其余吊车都在等待,否则必有冲突发生。而单轨式吊车却可以做到锌锅里永远有东西。特别是对比较小的工件,单轨吊车可以提高产能2-3倍。


二、单轨吊车工作原理

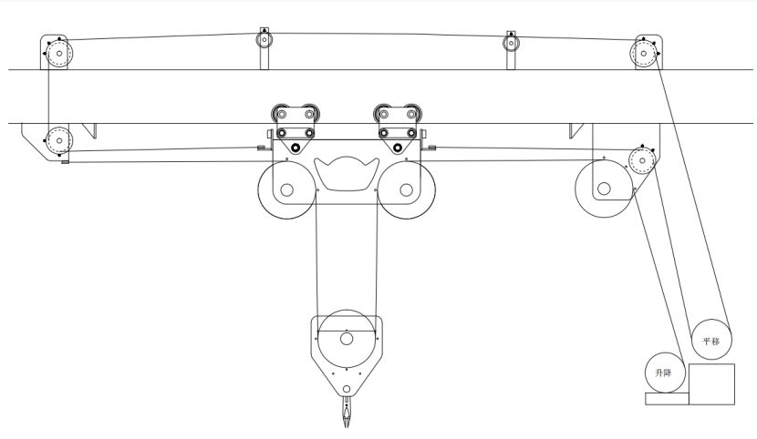
  1.平移机构工作原理

  电动机通过花键轴与行星齿轮减速机联接,减速机外壳带动滚筒旋转,两根牵引钢丝绳用绳卡固定在滚筒两侧端盖上随着滚筒的转动则两根钢丝绳放出或卷入,完成载重小车沿起重臂水平运动。当电机断电时,可自动刹车,机构停止运转。

变幅机构滚筒一端连有幅度限位器限制牵引载重小车运行距离。

  2.刹车机构工作原理 

  该系列电力液压鼓式制动器由相匹配的制动架和电力液压推动器两大部分组成,当通电时,电力液压推动器动作,其推杆迅速升起,并通过杠杆作用把制动瓦打开;当断电时,电力液压推动器的推杆在弹簧力的作用下迅速下降,并通过杠杆作用把制动瓦合拢. 实现制动。

  3.卷扬升降机构工作原理

  电源输入,液压推杆制动器打开,电动机开始旋转,经梅花弹性连轴器将动力传递减速机,再由减速机带动卷筒绕绳工作。电动机断电,制动器制动,多功能行程限制器控制起升钢丝绳放出和绕入长度以控制器升高度。


image.png


三、单轨吊车优势

  1. 镀锌专用单轨吊车优势(适用于一字型布局):

  - 轨道上无电机电线,设备维修率低

  - 单轨吊车可以单独或同步操作完成镀锌工作,生产力高

  - 控制系统采用西门子PLC和变频器运行稳定

  - 使用多段速度控制,通过形成一个合理的角度减少锌耗

  - 并且通过控制工件角度和提升速度可以提高工件的表面质量


编号

项目

参数

1

类型

卷扬机式

2

载重

2T/3T/5T/10T

3

起升速度

0.1-30M/Min

4

平移速度

30-40M/Min


  2.酸洗专用单轨吊车优势:

  - 封闭酸洗是目前最先进的和最环保的酸洗方法。

  - 因为有酸雾在封闭车间,吊车系统面临的挑战更加严重。

  - 控制系统使用手持遥控装置来实现最佳的酸洗过程。

  - 没有电线或电动机在封闭车间,减少腐蚀程度和维护费用。


编号

项目

参数

1

类型

卷扬机式

2

载重

2T/3T/5T/10T

3

起升速度

10M/Min

4

平移速度

20M/Min